⑤判读分析与地形有关的地理知识:分析某地气候特点,应结合该地地理纬度,地势高低起伏,山脉走向,阴、阳坡,距离海洋远近等进行综合分析;河流上游海拔高,下游海拔低。
结合河流流向判定地形大势,结合迎风坡、背风坡、降水状。
③比例尺:图上距离与实际距离之比。
表现形式:a.数字式b.文字式c.线段式。
性质:分母大,比例尺小,范围大,内容简单;反之则相反。
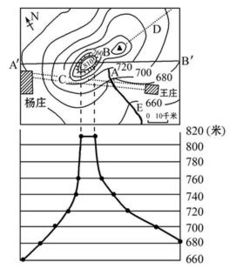
二、地形图的判读 1、常用的方法是用等高线来表示。
地面某个地点高出海平面的垂直距离。

地图是平面图标,要想标、读出立体信息,只能依靠等高线判别。
(即:相等高度的闭合曲线。
)等高线越多,则表示山越高。
等高线越密集,则代表山势越陡峭。
等高线越稀疏,则表明山势越平缓。
等高线的中心部位即是山顶。
等高线连续。
1. 方向:(1)通常方法:上北下南、左西右东;(2)有指向标的地图:箭头指向北方;(3)有经纬网的地图:经线指示南北方向,纬线指示东西方向;(4)室外看地图:面朝北背朝南;(5)确定地平面方向:指南针;北极星。

地形图的判读 1、常用的方法是用等高线来表示。
地面某个地点高出海平面的垂直距离称为海拔(绝对高度)。
某个地点高出另一地点的垂直距离叫做相对高度。
在地图上把海洋中深度相同的各点连接成线叫做等深线。
等高线越密集,。